产品分类
生产工厂

WRER2-12烟道风道热电偶

电站测温用热电偶,热电阻随着我国电力工业的不断发展,急需各种适用于电站的热电偶,以代替进口。本厂先后引进了专业制造技术和设备,并在原有产品基础上,对产品进行重新设计,增加了新的品种,使整个配套系列的
添加时间: 2024-05-07 14:37:45
O1CN01jTC3rx1j735UUrjno_!!3481924500.jpg_Q75.jpg_.avif.jpg
介绍

电站测温用热电偶,热电阻

随着我国电力工业的不断发展,急需各种适用于电站的热电偶,以代替进口。本厂先后引进了专业制造技术和设备,并在原有产品基础上,对产品进行重新设计,增加了新的品种,使整个配套系列的品种、规格******符合国产或引进的30万、60万千瓦发电机组以及国内其它机组配套需要,并以优异的质量来满足市场,应符合JB/T9238-1999及JB/T8622-1997标准。

量程规格

类别

代号

分度号

测温范围

精度等级

允许偏差△t

镍铬-镍硅

WRNT

K

0~800

±1.5℃或±0.004│t│

±2.5℃或±0.75│t│

镍铬-铜镍

WRET

E

0~600

±1.5℃或±0.004│t│

±2.5℃或±0.75│t│

-铜镍

WRCT

T

-40~350

±0.5℃或±0.004│t│

±1℃或±0.75% t

铂电阻

WZPT

PT100

-200500

A级

±0.15℃+0.002│t│

B级

±0.30+0.005│t│

铜电阻

WZCT

Cu50

-50100

±0.30+6.0*0.001│t│

:“t”为感温元件实测温度,

公称压力

一般是指在常温下,保护管所能承受的静态外压而不破裂,试验压力一采用公称压力的1.5倍。实际上,允许工作压力不仅与保护管材料、直径、壁厚有关,而且还与其结构形式、安装方法、置入深度以及被测介质的流速、种类有关。

热电偶绝缘电阻:

常温绝缘电阻的试验电压为直流500V。测量常温绝缘电阻的大气条件为:温度15~35℃,相对温度45%,大气压力86~106kpa。

对于长度超过1米的热电偶,它的常温绝缘电阻值与其长度的乘积应不小于100MΩ·m

即:Rr·L〉>100MΩ L>1m

式中:Rr-热电偶的常温绝缘电阻值,MΩ;

L-热电偶的长度,m

对于长度等于或不足1米的热电偶,它的常温绝缘电阻值应不小于100MΩ。

热套式电偶

热套式电偶主要用于测量蒸汽管道及锅炉温度。

热电偶采用热套保护管与电偶可分离分工,使用时,用户可将热套焊接或机械固定在设备上,然后装上电偶就可工作,它的优点是提高了保护管的工作压力和使用寿命,又便于电偶的维修或更换,目前这种结构形式被国外广泛采用。

本厂生产的热套保护管采用引进设备和深盲孔技术加工而成,端部不用焊接,提高了热套保护管的强度和使用寿命。

热套式热电偶产品有五种不同结构和安装方式,用户可根据不同的温度,压力及蒸汽流速来选用。

 

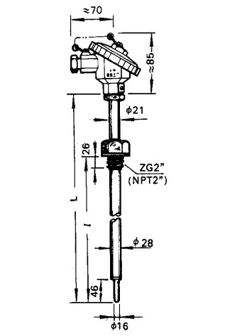
烟道、风道热电偶

用途:使用在烟道及风道上测温

名称

型号


分度号

测温范围

公称压力

保护管材料

L×1

单支热电偶

WRNR-12


K

0~800℃

≤9.8MPa

1Cr18Ni9Ti

不锈钢

480×230

680×430

880×630

1380×1130

WRER-12


E

0~600℃

双支热电偶

WRNR2-12


K

0~800℃

WRER2-12


E

0~600℃

:BASCO规范

WRNR-12-11.jpg

浏览:
返回顶部