产品分类
生产工厂

LKB-01靶式流量控制器-上海远东仪表厂

LKB-01靶式流量控制器(上海远东仪表厂)产品概述 LKB—01靶式流量控制器采用传感器。可用于水冷却系统或其他流体回路。控制器的设定值可调。主要技术性能 环境温度:5~40℃ 安装位置:外壳上箭
添加时间: 2025-06-03 06:56:19
LKB-01-010.png
介绍

LKB-01靶式流量控制器(上海远东仪表厂)

 LKB-01-010.png

产品概述

    LKB—01靶式流量控制器采用传感器。可用于水冷却系统或其他流体回路。控制器的设定值可调。

主要技术性能

    环境温度:5~40℃

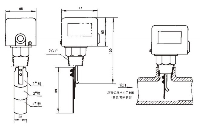
    安装位置:外壳上箭头与水流方向一致,控制器前需要有10D(管径)长度的导向直管道。

    安装管道P:1-6"

    耐压: 1.6 MPa         

    触点容量:AC 250V 3A (阻性) 

              转换触点1付(有常开和常闭)

介质温度范围:5~80℃

 

产品规格              单位/分

管道与靶号配用

流量调节范围

切换差

重复性误差

1"

1#

20……48

8

1.1

11/4"

1#

34……100

10

2.6

11/2"

1#

65……160

14

3.8

2"

1#

120……280

26

6.4

﹡21/2"

1#

40……140

18


3"

1#

210……550

20


2"

2#

110……340

18

4.0

﹡21/2"

2#

380……750

15


﹡3"

2#

180……470

18


﹡4"

2#

115……220

20


﹡3"

3#

350……920

20


﹡4"

3#

210……590

20


﹡5"

3#

380……1200

40


﹡6"

3#

550……1800

80


 注1“﹡”号数据为参考数据

2流量调节范围:指下切换值调节范围,即流量减少时引起开关触点切换的设定值调节范围。

3 4#,5#靶可以用于更大直径的管道。


外形及安装尺寸

 LKB-01-1.jpg

 

流量控制器附件

1#~5#靶片各一片,M3×8螺钉2只,¢3垫圈2只,¢3弹簧垫圈2只。

浏览:
返回顶部